Imagine a cargo plane so big, it could carry nearly 200 cargo containers, including 20 in each wing. The Pelican Super Transport was Boeing's intended answer to the Navy's need to transport massive amounts
of cargo and personnel across the globe. This plane, as conceived, would have been up to the task.
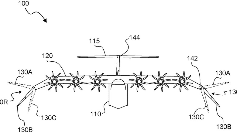
The Pelican was designed to have an incredible wingspan of 500 feet, over 100 feet wider than the world's current widest plane. That would have given it an acre of wing area. It would have weighed 1,600 tons and could have carried 1,400 tons of cargo. The lower deck alone had enough room to stack shipping containers two high, while the upper deck had enough room for another level of shipping containers. It could have carried 17 M1 Abrams tanks, 70 heavy expanded-mobility tactical trucks, or a whole minefield's worth of 2,000-pound mines. It would have been the largest airplane in history.
To lift this beast off the ground, it was designed with eight gigantic 80,000-horsepower turbine engines that could take the plane up to 20,000 feet at 300 mph — though it would have spent most of its time in the air just 20 to 50 feet above the ocean's surface. Then it would have landed on 76 wheels, arranged in two long rows running most of the length of the fuselage. Every one of those wheels would have been steerable, meant to maneuver this monstrous aircraft on the ground and to resist crosswinds when landing. However, this long wheel arrangement would make it impossible for the Pelican to rotate like most other airplanes, meaning it would have to perform a "levitating" or vertical takeoff, like the B-52.
Read more: Call Me A Luddite, But These Modern Features Only Seem To Make Cars Worse
The Problems With A Plane As Big As The Boeing Pelican Super Transport
As impressive as the Boeing Pelican Super Transport would have been, its design was impractical in many ways. For example, imagine trying to find a runway with enough room to taxi a 400-foot-long airplane with a 500-foot wingspan. This limitation is one of the reasons that the 787 doesn't have winglets. Even a senior manager at Boeing, John Skorupa, admitted to Flight Global in 2003 that the wingspan was the Pelican's "number one problem" and the size of the aircraft "may seem absurd on the face of it."
And then there's the Pelican's sheer weight. Fully loaded at 3,000 tons, it would be heavier than the limits of most airport runways. The craft's immense weight would also mean that it would require more power to take off than to fly. That would require larger engines, reducing the amount of cargo it could carry and harming its efficiency.
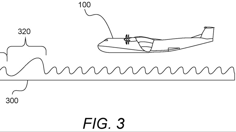
The Pelican was designed as a Wing-in Ground effect (WIG) aircraft, meaning it was meant to fly mostly near the ground or the ocean surface. This would let it use a phenomenon known as "ground effect," resulting in less drag. In theory, this would offset some of the inefficiencies inherent in flying such a large aircraft, giving the Pelican a range of about 10,000 nautical miles.
But flying at low altitudes also presents a few issues. The plane would be in danger of being hit by very tall waves — a problem for a plane not designed for water landings. Flying at low altitude presents its own challenges, which would require heavy automation of the Pelican's controls. Bird strikes would even be an increased risk at those low altitudes.
Why The Boeing Pelican Never Got Built
The impracticality of an aircraft this big was not lost on Boeing or Congress. A 2005 Congressional report on possible mass cargo solutions for the military concluded that it was only somewhat probable that the Boeing Pelican could be delivered by its target date in 2015. A Department of Defense report from the same year listed the Boeing WIG aircraft as one of many possible solutions and noted multiple potential issues with its deployment, but no program for the Pelican was proposed or started.
Boeing itself lost interest in the project by the following year, in 2006, moving on to other priorities. The company had predicted that over 1,000 Pelican aircraft would be needed by 2020 even if it captured as little as 2% of the mass cargo transport market. This, of course, was highly speculative.
Interest in the WIG concept was revived by the U.S. Defense Advanced Research Projects Agency a few years ago, partly in response to China's interest in a Soviet water-skimming plane. It sent out a request for information in 2021, seeking WIG aircraft for military use. But one of its requirements was that the plane be able to take off and land in water, which was not planned as one of the Pelican's capabilities. Still, who knows? With this renewed interest, you just might see a massive airplane like the Pelican in the sky one of these days.
Want more like this? Join the Jalopnik newsletter to get the latest auto news sent straight to your inbox...
Read the original article on Jalopnik.








